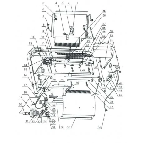
Soporte Rodamientos Cortadora de pan MQ-32 6202RZ
Soporte Rodamientos Cortadora de pan MQ-32 6202RZ
Soporte Rodamientos Cortadora de pan MQ-32 6202RZ
Soporte Rodamientos Cortadora de pan MQ-32 6202RZ

Soporte Rodamientos Cortadora de pan MQ-32 6202RZ

RCH0007330

Bajo pedido a fábrica
24,00 €
Impuestos excluidos

Detalles del producto

Opiniones (0)

No reviews
Producto añadido a favoritos
Producto añadido al comparador